
INCH-POUND
MIL-PRF-8565/5B (AS)
25 June 2001
SUPERSEDING
DOD-B-8565/5A(AS)
26 June 1987
PERFORMANCE SPECIFICATION SHEET
BATTERY, STORAGE, AIRCRAFT,
MAINTENANCE-FREE, 24-VOLT, 30-AMPERE-HOUR
This specification is approved for use by the Naval Air Systems Command, Department of
the Navy, and is available for use by all Departments and Agencies of the Department of
Defense.
The requirements for acquiring the product described herein shall consist of this specification
sheet and MIL-PRF-8565.
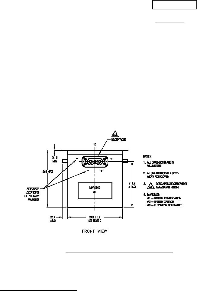
FIGURE 1. Dimensions and configuration for PIN D8565/5-1.
AMSC N/A
1 of 10
FSC 6140
DISTRIBUTION STATEMENT A. Approved for public release; distribution is unlimited.
For Parts Inquires submit RFQ to Parts Hangar, Inc.
© Copyright 2015 Integrated Publishing, Inc.
A Service Disabled Veteran Owned Small Business