
MIL-PRF-8565/1A(AS)
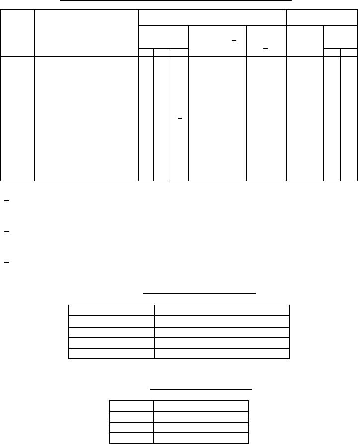
TABLE I. Qualification inspection and conformance inspection of batteries - Continued.
Qualification inspection
Conformance
inspection
Examinations and tests
Test
Requirement
Group A
Sample
Group B
Test
number
paragraph 1/
sample 1
paragraph
number
sample
100%
number
2/
1
2
3
1
2
X
VIBRATION TEST
3.7, 3.8.10
4.5.19
17
X
X
4.5.20
HUMIDITY TEST
3.7, 3.8.10
18
X
X
SALT FOG TEST
3.7, 3.8.10
4.5.21
19
X
X 3/
4.5.22
GROUND STORAGE TEST
3.8.13.1
20
X
PHYSICAL INTEGRITY AT
3.7, 3.8.6
4.5.23
21
HIGH TEMPERATURE TEST
3.8.10
DEEP DISCHARGE
3.7, 3.8.6
4.5.27
22
X
RECOVERY TEST
3.8.13.3
X
X
4.5.31
FINAL EXAMINATION
3.7
23
X
X
X
1/ Requirements 3.5.9, 3.8.6, 3.8.9, and 3.8.10 are as modified herein and requirement 2,
requirement 3, 3.5.11, 3.8.16.1, 3.8.16.2 are as specified herein. All other requirements are as
specified in MIL-PRF-8565.
2/ Tests 4.5.7, 4.5.10, 4.5.13, 4.5.14, 4.5.19, 4.5.20, 4.5.21 are as modified herein. Tests
4.5.28.1, 4.5.28.2, 4.5.28.3, and 4.5.28.4 are as specified herein. All other tests are as specified
in MIL-PRF-8565.
3/ The manufacturer requesting qualification to this specification may submit a substitute fourth
test sample to expedite the qualification test program.
TABLE II. AC Charging circuit conditions.
Parameter
Condition
-30 °C to 50 °C (-22 °F to 122 °F)
"Temperature range:
"Input voltage:
108 VAC to 118 VAC
"Input frequency:
380 Hz to 420 Hz
"Input current:
1.1 amperes maximum"
TABLE III. Step discharge requirements.
"Test step Battery terminal voltage
"1
21.0 volts
"2
18.0 volts
"3
20.0 volts"
9
For Parts Inquires submit RFQ to Parts Hangar, Inc.
© Copyright 2015 Integrated Publishing, Inc.
A Service Disabled Veteran Owned Small Business