emilspec
An Integrated Publishing, Inc. Site
eMilSpec
An Integrated Publishing Website
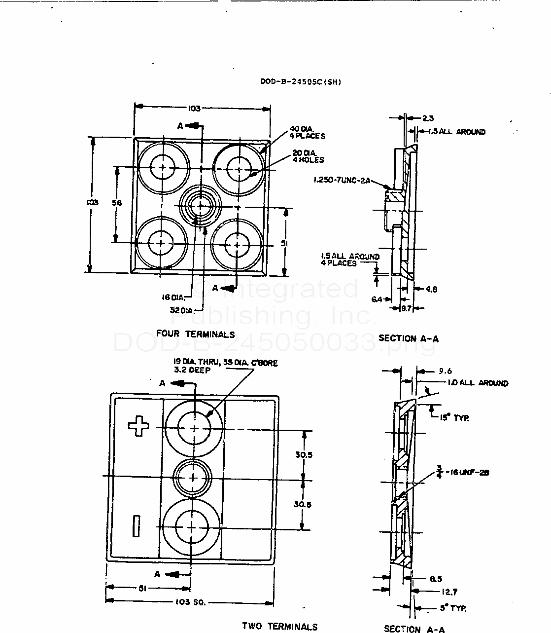
DOD-B-24505 Battery, Storage, Silver Zinc Alkaline Type (For Dsrv) (Metric)
This specification covers silver-zinc alkaline storage batteries used in the Deep Submergence Rescue Vehicle (DSRV).
For Parts Inquires submit RFQ to
Parts Hangar, Inc.
© Copyright 2015 Integrated Publishing, Inc.
A Service Disabled Veteran Owned Small Business